TCR Series Sanitary Rotary Cleaning Ball applies dual ball bearing design, is better for CIP application ...
InquireTFM sanitary filter housing is designed for sanitary, pharmaceutical, biological, biotechnological, food and beverage applications, constructed in stainless steel 304 or 316L with a crevice free design. Designed for hot water, chemical and steam sterilisation. Ideal for use with filter cartridges ranging from clarification to sterilising grade membranes. Suitable for applications where CIP and SIP cleaning and sterilization procedures are required.
Temperature range: -10°C to 120°C(Silicon)
Working Pressure: 8 bar up to 40 °C
Steam Sterilization :121°C/ 30 min
Surface Finishing
Operating Conditions
Connection
![]() |
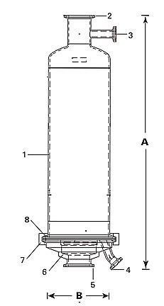
Item | Description | Material |
| 1 | Bowl | SS304/SS316L | |
| 2 | Inlet | SS304/SS316L | |
| 3 | Vent | SS304/SS316L | |
| 4 | Drain | SS304/SS316L | |
| 5 | Outlet | SS304/SS316L | |
| 6 | Head assembly | SS304/SS316L | |
| 7 | Housing Clamp | SS304 | |
| 8 | Housing Gasket | Silicon |
| Model No | Cartridges | B | A | Inlet & Outlet | |||
| QTY | Length | Configurations | Connection | Size | |||
| TFM1005S22411100 | 1 | 5" | 226 | 101.6 | 300 | Clamp | 1" |
| TFM1010S22411100 | 1 | 10" | 226 | 101.6 | 420 | Clamp | 1" |
| TFM1020S22411100 | 1 | 20" | 226 | 101.6 | 670 | Clamp | 1" |

TCR Series Sanitary Rotary Cleaning Ball applies dual ball bearing design, is better for CIP application ...
InquireApplication:TFM sanitary filter housing is designed for sanitary, pharmaceutical, biological, biotechnol...
InquireApplication:TFM sanitary filter housing is designed for sanitary, pharmaceutical, biological, biotechnol...
InquireApplication:TFD Hygienic Duplex Filter Assembly consisting of 4pcs butterfly valves VBN and 2pcs Angle t...
InquireWenzhou, China – [November 7-8] – With the autumn breeze blowing and company flags fluttering, Wenzhou Qiming Stainless Steel Co., Ltd. celebrated a significant milestone in its journey in the stainle
In our daily lives, we use connectors and joints without a second thought—the pipe under our sink, the hose in our garden. But what about in industries where absolute cleanliness is not just a preference b...
GET A QUOTE